Порядок установки поршня

Тепловые зазоры поршневых колец ваз 2114. Кольца поршневые ваз 2110. Маслосъемные кольца рапид 1. Порядок установки поршня. Схема установки маслосъемных поршневых колец ваз.
Тепловые зазоры поршневых колец ваз 2114. Кольца поршневые ваз 2110. Маслосъемные кольца рапид 1. Порядок установки поршня. Схема установки маслосъемных поршневых колец ваз.
2 дизель направление поршня. Сборка поршневой группы ниссан х-трейл 2. Поршневые кольца зил 130 схема установки. Схема установки замки поршневых колец д240. Замок маслосъемных колец на поршень лансер 9.
2 дизель направление поршня. Сборка поршневой группы ниссан х-трейл 2. Поршневые кольца зил 130 схема установки. Схема установки замки поршневых колец д240. Замок маслосъемных колец на поршень лансер 9.
Сборка поршневых колец 5a fe. 3 компрессионных кольца на поршень ваз. Установка поршневых колец змз 406 схема. Порядок установки поршня. Оправка для установки поршней в цилиндры ваз 2109.
Сборка поршневых колец 5a fe. 3 компрессионных кольца на поршень ваз. Установка поршневых колец змз 406 схема. Порядок установки поршня. Оправка для установки поршней в цилиндры ваз 2109.
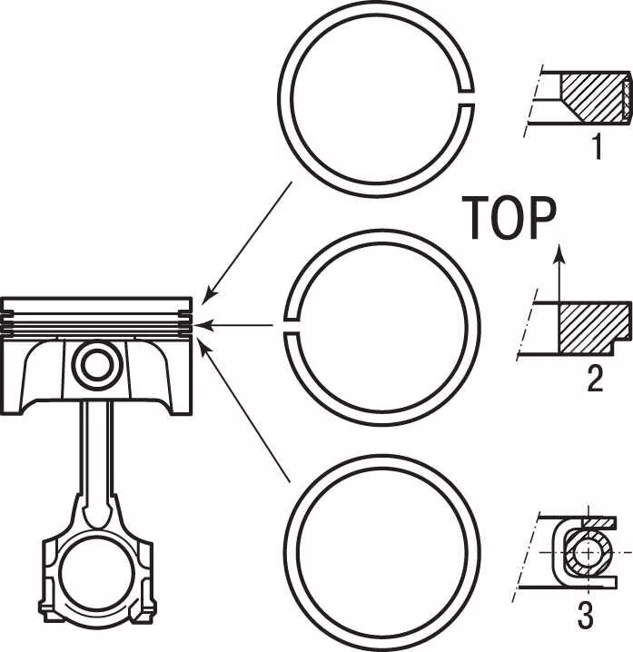
Схема установки поршневых колец ваз. Как правильно установить поршневые кольца на поршень. 6. Порядок установки поршня. Схема установки поршневых колец на поршень ваз.
Схема установки поршневых колец ваз. Как правильно установить поршневые кольца на поршень. 6. Порядок установки поршня. Схема установки поршневых колец на поршень ваз.
Opel corsa 1 и 2 сборка сборка поршневой группы. Как правильно установить компрессионные кольца на поршне. Порядок установки поршня. Порядок установки поршня. Маслосъёмные кольца уаз 3151.
Opel corsa 1 и 2 сборка сборка поршневой группы. Как правильно установить компрессионные кольца на поршне. Порядок установки поршня. Порядок установки поршня. Маслосъёмные кольца уаз 3151.
Схема установки поршневых колец на поршень ваз. Поршень мтз-80 схема. Сборка поршневой ваз 2110. Схема установки поршневых колец на двигатель f17e. Приспособление для очистки канавок поршня от нагара.
Схема установки поршневых колец на поршень ваз. Поршень мтз-80 схема. Сборка поршневой ваз 2110. Схема установки поршневых колец на двигатель f17e. Приспособление для очистки канавок поршня от нагара.
Расположение замков поршневых колец ваз 2108. Стопорное кольцо на поршневой палец двигателя 4d56t. Тепловой зазор поршневых колец ваз 2112. Сборка шатуна с поршнем д 245. Порядок установки поршня.
Расположение замков поршневых колец ваз 2108. Стопорное кольцо на поршневой палец двигателя 4d56t. Тепловой зазор поршневых колец ваз 2112. Сборка шатуна с поршнем д 245. Порядок установки поршня.
Оправка для колец поршня камаз. Шатунно поршневая группа камаз 740 схема. Порядок установки поршневых колец д 240. Кольца маслосъемные змз 511. Схема установки поршневых колец на поршень ваз 2106.
Оправка для колец поршня камаз. Шатунно поршневая группа камаз 740 схема. Порядок установки поршневых колец д 240. Кольца маслосъемные змз 511. Схема установки поршневых колец на поршень ваз 2106.
Тепловой зазор колец двигателя ямз-650. Маслосъёмные кольца уаз 3151. Порядок установки поршня. Порядок установки поршня. Поршневые кольца мтз 82 схема.
Тепловой зазор колец двигателя ямз-650. Маслосъёмные кольца уаз 3151. Порядок установки поршня. Порядок установки поршня. Поршневые кольца мтз 82 схема.
Схема установки колец на поршень ваз 2101. Ниссан 2. Мтз 80 порядок колец поршня. Как правильно установить кольца на поршень мотоблока. Зазоры поршневых колец двигателя 4g64s4m.
Схема установки колец на поршень ваз 2101. Ниссан 2. Мтз 80 порядок колец поршня. Как правильно установить кольца на поршень мотоблока. Зазоры поршневых колец двигателя 4g64s4m.
Порядок установки поршня. Поршневой зазор колец ваз 21213. Поршневые кольца зил 130 схема. Поршневые кольца 5д49 чертеж. Компрессионные кольца ваз 2107 чертеж.
Порядок установки поршня. Поршневой зазор колец ваз 21213. Поршневые кольца зил 130 схема. Поршневые кольца 5д49 чертеж. Компрессионные кольца ваз 2107 чертеж.
Схема поршня и поршневых колец камаз 740. Порядок установки поршня. Порядок установки поршня. Порядок установки поршня. Схема поршня камаз 740.
Схема поршня и поршневых колец камаз 740. Порядок установки поршня. Порядок установки поршня. Порядок установки поршня. Схема поршня камаз 740.
Порядок установки поршня. Расположение поршня ямз 236. Порядок установки поршня. Оправка поршневых колец ямз чертежи. Поршневые кольца схема камаз 740.
Порядок установки поршня. Расположение поршня ямз 236. Порядок установки поршня. Оправка поршневых колец ямз чертежи. Поршневые кольца схема камаз 740.
Тепловые зазоры поршневых колец ваз 21124. Расположение замков поршневых колец на поршне скания dc16. Кольца поршня двигателя ямз 238. Порядок установки поршня. Маслосъёмные кольца ваз 2109.
Тепловые зазоры поршневых колец ваз 21124. Расположение замков поршневых колец на поршне скания dc16. Кольца поршня двигателя ямз 238. Порядок установки поршня. Маслосъёмные кольца ваз 2109.
Поршневые кольца схема камаз 740. Установка поршневых колец ваз 2106 схема. 10 зазор поршень цилиндр. Оправка для установки поршней камаз. Расположение поршневых колец на ямз 238.
Поршневые кольца схема камаз 740. Установка поршневых колец ваз 2106 схема. 10 зазор поршень цилиндр. Оправка для установки поршней камаз. Расположение поршневых колец на ямз 238.
Порядок установки поршня. Расположение замков поршневых колец на поршне 4216. Поршень ваз 2110 кольца компрессионные маслосъемные. Камаз 740. Порядок установки поршня.
Порядок установки поршня. Расположение замков поршневых колец на поршне 4216. Поршень ваз 2110 кольца компрессионные маслосъемные. Камаз 740. Порядок установки поршня.
Схема установки поршневых колец 406 двигатель. Порядок установки поршня. Порядок установки поршня. Сборка поршневых колец ваз 2114. Расположение колец на поршне мтз 1221.
Схема установки поршневых колец 406 двигатель. Порядок установки поршня. Порядок установки поршня. Сборка поршневых колец ваз 2114. Расположение колец на поршне мтз 1221.
Скутер ямаха 50 кубов зазор поршневых колец. Поршневые кольца мтз 82 схема. Сборка поршневой ямз 236. Установка поошневых колец ваз2121. Порядок установки поршня.
Скутер ямаха 50 кубов зазор поршневых колец. Поршневые кольца мтз 82 схема. Сборка поршневой ямз 236. Установка поошневых колец ваз2121. Порядок установки поршня.
5 литра. Очистка канавок поршневых колец от нагара. Установка поршневых колец ваз 2106 схема. Как правильно установить поршневые кольца на поршень. Сборка поршневой ямз 236.
5 литра. Очистка канавок поршневых колец от нагара. Установка поршневых колец ваз 2106 схема. Как правильно установить поршневые кольца на поршень. Сборка поршневой ямз 236.
Оправка для установки поршней камаз. Схема установки поршневых колец на поршень ваз. Установка поршневых колец ваз 2106 схема. Порядок установки поршня. Поршневые кольца мтз 82 схема.
Оправка для установки поршней камаз. Схема установки поршневых колец на поршень ваз. Установка поршневых колец ваз 2106 схема. Порядок установки поршня. Поршневые кольца мтз 82 схема.